找回密码
 立即注册
澳门威尼斯人
U8
U18
海燕招商
A
蓝盾
e世博
islot.
申博亚洲
澳门银河
B
腾博会
德信
C级广告商
吉祥坊
查看: 188002|回复: 55

[真人] 【实战有奖】今天在申博亚洲娱乐城玩收米50

[复制链接]

3702

主题

7万

回帖

6793

金币

海燕硕士

积分
222586

万时之王老会员勤奋勋章交易勋章

发表于 2024-9-20 16:45 | 显示全部楼层 |阅读模式

马上注册,结交更多好友,享用更多功能,让你轻松玩转社区。

您需要 登录 才可以下载或查看,没有账号?立即注册

×
下午继续存款玩玩这个区块链色子,开局下注20小打出来554点数14输掉了,第二弹继续下注30大打出来246点数12 成功收米了,第三单下注小打出来221点数5也是收米了,第四单下注大打出来346点数13 收米了,第五单下注小打出来456点数15输掉了,最后一单下注大打出来236点数11赢回来损失了,今天下午下注6单收米50块钱还是很不错的结果了,只要是不输钱就可以不要嫌少就可以了
& q5 E; F) W* A: x- t6 P# K# f  y( H6 w
360截图20240920163127123.jpg 360截图20240920163140364.jpg 360截图20240920163150825.jpg 360截图20240920163200060.jpg 360截图20240920163211930.jpg
  B" D5 s, t9 @: i: A. q% {8 `  b5 _2 ?: a
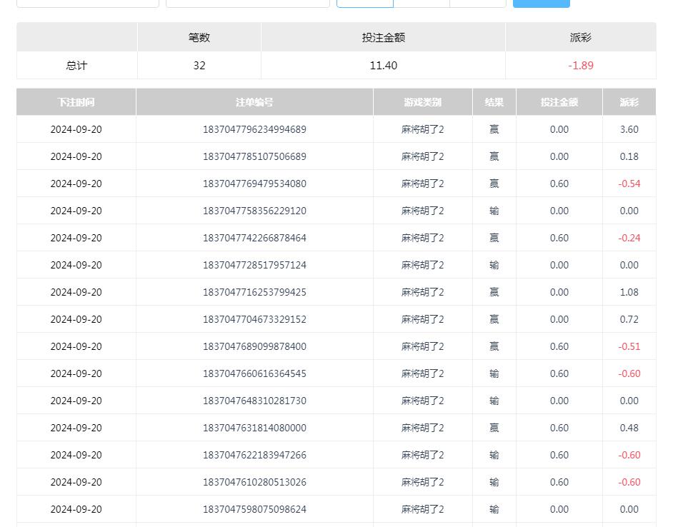
区块链收米今天换一个老虎机玩玩这个麻将胡了2,这个老虎机也是不给力啊开局还能够不输钱有一点小的奖励,后面就不行了都是输钱的结果,输掉几块钱就没有继续下注了避免输掉更多钱就不好了,还是下次再玩就可以了慢慢来吧
, n8 I  C2 {3 _' a. x5 O$ j; W' ^ 360截图20240920164231193.jpg 6 g4 Q9 A$ E  F" h8 ?' P' X8 F( x7 l

4 J; F+ B: T. Z9 p下午的菠菜还是很不错区块链色子打出来收米50块钱,老虎机尝试一下麻将胡了2也是没有遇到一个大奖输掉一点点,总体今天的下注收米一点点了,只要是能够做到不输钱就可以,不嫌少就可以了,保持一个好心态改天再玩就可以了
( t* Q0 u1 b0 Y" F3 q! e3 u
回复

使用道具 举报

50

主题

8989

回帖

4159

金币

金牌会员

积分
28697

老会员

发表于 2024-9-20 16:47 | 显示全部楼层
能收到就是运气还不错的了,恭喜你收米成功
回复 支持 反对

使用道具 举报

197

主题

6859

回帖

148

金币

银牌会员

积分
13995

老会员交易勋章

发表于 2024-9-20 17:36 | 显示全部楼层
你这次就很低调了吧,才赢50就撤退了,不对啊,不过估计是你早上赢够了
回复 支持 反对

使用道具 举报

46

主题

1万

回帖

1372

金币

金牌会员

积分
24942

老会员

发表于 2024-9-20 18:28 | 显示全部楼层
只要是能够赢钱,就是很不错的,希望以后都能够有个好的结果了。
回复 支持 反对

使用道具 举报

67

主题

8926

回帖

1071

金币

金牌会员

积分
24333

老会员光影行者

发表于 2024-9-20 18:56 | 显示全部楼层
菠菜盈利离不开靠心态,只要是能够做到不输钱就可以,不嫌少就可以
回复 支持 反对

使用道具 举报

67

主题

8926

回帖

1071

金币

金牌会员

积分
24333

老会员光影行者

发表于 2024-9-20 18:56 | 显示全部楼层
十里变百里 发表于 2024-9-20 18:289 a2 q  s8 w: O9 |7 o
只要是能够赢钱,就是很不错的,希望以后都能够有个好的结果了。
8 L( Q8 R, N4 P/ ^8 D8 i4 x
那是肯定的事情,一会就是稳住后,继续盈利成功的
回复 支持 反对

使用道具 举报

2477

主题

8万

回帖

5183

金币

海燕硕士

积分
226504

老会员超级精华精华勋章美女勋章勤奋勋章交易勋章万时之王

发表于 2024-9-20 19:11 | 显示全部楼层
能够收米的话也是真不错的呀,运气来了也可以多玩一下的吧
回复 支持 反对

使用道具 举报

2477

主题

8万

回帖

5183

金币

海燕硕士

积分
226504

老会员超级精华精华勋章美女勋章勤奋勋章交易勋章万时之王

发表于 2024-9-20 19:11 | 显示全部楼层
sc豆豆龙 发表于 2024-9-20 18:56
2 A  q9 f& @8 V* M( K% C) M4 k那是肯定的事情,一会就是稳住后,继续盈利成功的
- k3 b: f- b, P6 v4 O
有个好的事情也是值得了呀,我们的努力也是有了一定的回报的呀
回复 支持 反对

使用道具 举报

2477

主题

8万

回帖

5183

金币

海燕硕士

积分
226504

老会员超级精华精华勋章美女勋章勤奋勋章交易勋章万时之王

发表于 2024-9-20 19:11 | 显示全部楼层
十里变百里 发表于 2024-9-20 18:283 ]' y, P+ w( s+ w
只要是能够赢钱,就是很不错的,希望以后都能够有个好的结果了。

" ?# N6 o& V! ?8 k/ ~* @, ^为了盈利也得战斗起来的呀,不然的话哪有一个收入在手的呀
回复 支持 反对

使用道具 举报

480

主题

3万

回帖

4665

金币

铂金用户

积分
84327

老会员美女勋章勤奋勋章交易勋章

发表于 2024-9-20 20:22 | 显示全部楼层
运气好可以盈利是不错的结果了,继续保持住吧
回复 支持 反对

使用道具 举报

3411

主题

8万

回帖

9624

金币

海燕硕士

积分
236129

万时之王老会员精华勋章勤奋勋章交易勋章光影行者

发表于 2024-9-20 20:33 | 显示全部楼层
当然这一次能够成功的有收获,也是非常开心的一个结果
回复 支持 反对

使用道具 举报

3411

主题

8万

回帖

9624

金币

海燕硕士

积分
236129

万时之王老会员精华勋章勤奋勋章交易勋章光影行者

发表于 2024-9-20 20:33 | 显示全部楼层
初秋2323a 发表于 2024-9-20 20:22
9 V. f9 Q1 h; ~9 u5 q" v运气好可以盈利是不错的结果了,继续保持住吧

1 T4 [- d7 I, \: L" q- |只要能够在运气好的时候,好好的把握住这样的节奏就好
回复 支持 反对

使用道具 举报

3411

主题

8万

回帖

9624

金币

海燕硕士

积分
236129

万时之王老会员精华勋章勤奋勋章交易勋章光影行者

发表于 2024-9-20 20:34 | 显示全部楼层
杨雪儿 发表于 2024-9-20 19:11
, y( N+ V# y0 y能够收米的话也是真不错的呀,运气来了也可以多玩一下的吧

4 T. C+ Z8 A/ m: E: v当然能够有收获的感觉也是挺好的,需要非常需要这样的感觉
回复 支持 反对

使用道具 举报

2625

主题

5万

回帖

5681

金币

钻石用户

积分
175826

万时之王老会员精华勋章勤奋勋章交易勋章

发表于 2024-9-20 23:24 来自手机 | 显示全部楼层
盈利了五十块钱,还是很不错的了,只要有赢钱就是好的
回复 支持 反对

使用道具 举报

2625

主题

5万

回帖

5681

金币

钻石用户

积分
175826

万时之王老会员精华勋章勤奋勋章交易勋章

发表于 2024-9-20 23:24 来自手机 | 显示全部楼层
初秋2323a 发表于 2024-9-20 20:223 r8 N" t- h/ i8 M! V
运气好可以盈利是不错的结果了,继续保持住吧

- {' j* |: q) }5 B$ C$ T! E运气不错的,有了盈利见好就收了,不贪心很好的心态
回复 支持 反对

使用道具 举报

您需要登录后才可以回帖 登录 | 立即注册

本版积分规则

广告合作|福利汇|论坛简介|钱包教程|手机版|小黑屋|Archiver|海燕论坛

快速回复 返回顶部 返回列表