找回密码
 立即注册
澳门威尼斯人
U8
U18
海燕招商
A
蓝盾
e世博
islot.
申博亚洲
澳门银河
B
腾博会
德信
C级广告商
吉祥坊
查看: 137818|回复: 34

[真人] 九五 AG视讯

[复制链接]

2

主题

2

回帖

0

金币

新手上路

积分
9
发表于 2024-5-28 15:49 | 显示全部楼层 |阅读模式

马上注册,结交更多好友,享用更多功能,让你轻松玩转社区。

您需要 登录 才可以下载或查看,没有账号?立即注册

×

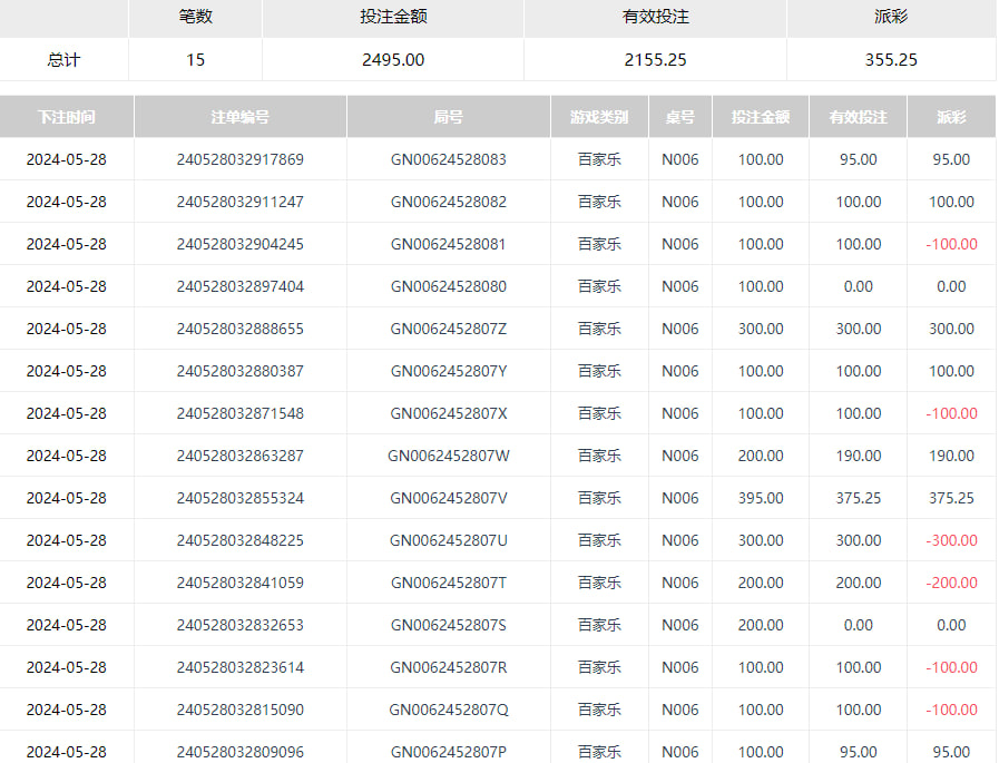
今天是运气不好吗?赢一点赶紧走。明天再来。

1111.jpg
回复

使用道具 举报

205

主题

7329

回帖

1600

金币

银牌会员

积分
17956

老会员光影行者

发表于 2024-5-28 16:18 | 显示全部楼层
没存款图克不行,还是要遵守发帖规则啊,兄弟,转账图也行
回复 支持 反对

使用道具 举报

1592

主题

8万

回帖

1万

金币

海燕硕士

积分
250796

万时之王老会员精华勋章勤奋勋章交易勋章光影行者

发表于 2024-5-28 17:17 | 显示全部楼层
能够盈利了还是非常高兴的,这个帖子还是少了几张图片的
回复 支持 反对

使用道具 举报

2482

主题

8万

回帖

5349

金币

海燕硕士

积分
226892

老会员超级精华精华勋章美女勋章勤奋勋章交易勋章万时之王

发表于 2024-5-28 18:19 | 显示全部楼层
每天也是看运气来的呀,盈利与否也是要坚持一下呀
回复 支持 反对

使用道具 举报

2482

主题

8万

回帖

5349

金币

海燕硕士

积分
226892

老会员超级精华精华勋章美女勋章勤奋勋章交易勋章万时之王

发表于 2024-5-28 18:20 | 显示全部楼层
cwx1994 发表于 2024-5-28 17:178 G6 A6 a/ E( x7 B# i
能够盈利了还是非常高兴的,这个帖子还是少了几张图片的
6 ~2 J/ X% N( }6 g+ @% e7 Z; j
有个盈利的成绩是值得高兴的事呀,我们也是努力了呀
回复 支持 反对

使用道具 举报

1410

主题

5万

回帖

2163

金币

钻石用户

积分
142705

万时之王老会员勤奋勋章交易勋章

发表于 2024-5-28 18:46 | 显示全部楼层
盈利就是王道啊 楼主如果能每天盈利300多也是很不错的.
回复 支持 反对

使用道具 举报

41

主题

2万

回帖

50

金币

金牌会员

积分
34299

老会员勤奋勋章交易勋章

发表于 2024-5-28 21:26 来自手机 | 显示全部楼层
楼主这次盈利了也是不少的,这也是一个很好的结果了吧。
回复 支持 反对

使用道具 举报

41

主题

2万

回帖

50

金币

金牌会员

积分
34299

老会员勤奋勋章交易勋章

发表于 2024-5-28 21:27 来自手机 | 显示全部楼层
allin 发表于 2024-5-28 18:46/ l7 F" b) P' P# A$ @& S
盈利就是王道啊 楼主如果能每天盈利300多也是很不错的.

! d) c* F$ K, ~: }2 Z要是每天都能够坚持这么多,那一个月累积下来也是不少了呢
回复 支持 反对

使用道具 举报

162

主题

1万

回帖

242

金币

金牌会员

积分
21624

老会员交易勋章魅力达人

发表于 2024-5-28 22:13 来自手机 | 显示全部楼层
胜率也是不算太差了,基本上保持了一半一半的机会
回复 支持 反对

使用道具 举报

2482

主题

8万

回帖

5349

金币

海燕硕士

积分
226892

老会员超级精华精华勋章美女勋章勤奋勋章交易勋章万时之王

发表于 2024-5-29 07:37 | 显示全部楼层
12358 发表于 2024-5-28 22:13: @8 D6 C7 \2 S8 I- `( K8 A8 `! i
胜率也是不算太差了,基本上保持了一半一半的机会
& f, j' Z4 o& L. w. Q# _& ]; n6 |
这个胜率注码一样的重要呀,盈利就靠这两个原因来的呀
回复 支持 反对

使用道具 举报

2482

主题

8万

回帖

5349

金币

海燕硕士

积分
226892

老会员超级精华精华勋章美女勋章勤奋勋章交易勋章万时之王

发表于 2024-5-29 07:37 | 显示全部楼层
吕2244 发表于 2024-5-28 21:26
: C$ X) j% r3 O/ q2 i0 X楼主这次盈利了也是不少的,这也是一个很好的结果了吧。

6 \. l! C3 v. E8 k6 K. j# Z盈利的话也是因为运气来了呀,我们想要的就是这样的一个结果了
回复 支持 反对

使用道具 举报

2482

主题

8万

回帖

5349

金币

海燕硕士

积分
226892

老会员超级精华精华勋章美女勋章勤奋勋章交易勋章万时之王

发表于 2024-5-29 07:37 | 显示全部楼层
allin 发表于 2024-5-28 18:46
0 E1 o3 N3 ?" V/ F9 B1 G盈利就是王道啊 楼主如果能每天盈利300多也是很不错的.
( R6 z" d. ?( E* L) T
每天这样的盈利就好了呀,也就想一下就行了,不太现实的事
回复 支持 反对

使用道具 举报

2715

主题

8万

回帖

7407

金币

海燕硕士

积分
226317

万时之王老会员勤奋勋章交易勋章

发表于 2024-5-29 10:31 | 显示全部楼层
那还不错的运气啊,能赢到钱也是很开心的,这样的结果是太好了
回复 支持 反对

使用道具 举报

2715

主题

8万

回帖

7407

金币

海燕硕士

积分
226317

万时之王老会员勤奋勋章交易勋章

发表于 2024-5-29 10:31 | 显示全部楼层
杨雪儿 发表于 2024-5-29 07:37
% c0 e3 `( J7 a每天这样的盈利就好了呀,也就想一下就行了,不太现实的事
$ ^* v+ f% z% x. Z* R
可以每天有一点收获的话,真的是很不错,对了能稳住就好了
回复 支持 1 反对 0

使用道具 举报

2715

主题

8万

回帖

7407

金币

海燕硕士

积分
226317

万时之王老会员勤奋勋章交易勋章

发表于 2024-5-29 10:31 | 显示全部楼层
杨雪儿 发表于 2024-5-29 07:37" T( @4 r% Y. q6 e) d' H, T4 [# Z
这个胜率注码一样的重要呀,盈利就靠这两个原因来的呀
& L) o; n1 k( c1 D( e7 M1 h
能有好的成绩也是很好啊,这样的结果也是可以接受的了
回复 支持 反对

使用道具 举报

您需要登录后才可以回帖 登录 | 立即注册

本版积分规则

广告合作|福利汇|论坛简介|钱包教程|手机版|小黑屋|Archiver|海燕论坛

快速回复 返回顶部 返回列表