找回密码
 立即注册
澳门威尼斯人
U8
U18
海燕招商
A
蓝盾
e世博
islot.
申博亚洲
澳门银河
B
开云
腾博会
德信
C级广告商
吉祥坊
华体会
查看: 1034|回复: 68

[彩票] 3月开头第一天游戏彩票很顺利收525块钱

[复制链接]

61

主题

2705

回帖

2124

金币

银牌会员

积分
11032

老会员

发表于 2026-3-1 12:44 | 显示全部楼层 |阅读模式

马上注册,结交更多好友,享用更多功能,让你轻松玩转社区。

您需要 登录 才可以下载或查看,没有账号?立即注册

×
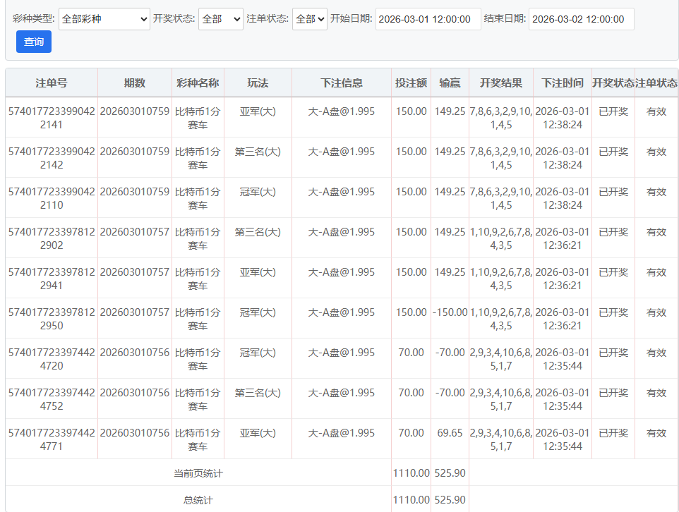
比特彩票玩法一直坚持三定位两面玩法,一般都是正对官方彩票的策略部署打法;70-150-200-300-500的递增下注额,今天极其顺利收525块钱。
/ }) l. e% v/ y  J' J6 f. b- w8 }) j) x# @  C1 N
2.png 4 ?; T/ ?9 m: f' S. c6 L
3.png
6 `+ U4 ^( M" q* L; U8 {& P3 ~, {

评分

参与人数 1金币 +8 收起 理由
海燕RG + 8 实战分享

查看全部评分

回复

使用道具 举报

1456

主题

1万

回帖

9117

金币

千足金牌会员

积分
49050

老会员财富勋章精华勋章交易勋章热心会员魅力达人

发表于 2026-3-1 12:56 | 显示全部楼层
这个收获我觉得很给力哦
回复 支持 反对

使用道具 举报

213

主题

1万

回帖

1821

金币

千足金牌会员

积分
43873

老会员

发表于 2026-3-1 13:04 | 显示全部楼层
玩游戏能快速完成盈利,那种感觉真棒!
回复 支持 反对

使用道具 举报

364

主题

8936

回帖

5551

金币

金牌会员

积分
37145

老会员

发表于 2026-3-1 19:48 | 显示全部楼层
赚多赚少都是好的,兄弟技术就是强
回复 支持 反对

使用道具 举报

364

主题

8936

回帖

5551

金币

金牌会员

积分
37145

老会员

发表于 2026-3-1 19:48 | 显示全部楼层
hy188820 发表于 2026-3-1 13:04- \' E0 M6 I" ^& }
玩游戏能快速完成盈利,那种感觉真棒!

  ~5 E: V9 B+ G( p1 y兄弟赚到钱也还是挺好的,运气这也无敌了
回复 支持 反对

使用道具 举报

8

主题

2万

回帖

1万

金币

铂金用户

积分
81552

光影行者

发表于 2026-3-1 20:49 | 显示全部楼层
三定位两面稳扎稳打,这次小赢525挺舒服,递增节奏拿捏得不错啊
回复 支持 反对

使用道具 举报

8

主题

2万

回帖

1万

金币

铂金用户

积分
81552

光影行者

发表于 2026-3-1 20:50 | 显示全部楼层
笑看人生 发表于 2026-3-1 12:56, W- U: M6 X3 H' K* _2 t$ h% v6 I
这个收获我觉得很给力哦

& }. T& y( K8 ?% \/ }这开局确实舒服,希望后面能稳住别飘,小赢最怕心态炸
回复 支持 反对

使用道具 举报

618

主题

1万

回帖

5400

金币

千足金牌会员

积分
40228

老会员

发表于 2026-3-1 23:54 | 显示全部楼层
这次赚得快,心里真爽,下次还要这么干!
回复 支持 反对

使用道具 举报

1579

主题

8万

回帖

2万

金币

海燕硕士

积分
258772

万时之王老会员精华勋章勤奋勋章交易勋章光影行者

发表于 2026-3-2 05:53 | 显示全部楼层
可以收米这么多钱也是非常厉害的了
回复 支持 反对

使用道具 举报

1579

主题

8万

回帖

2万

金币

海燕硕士

积分
258772

万时之王老会员精华勋章勤奋勋章交易勋章光影行者

发表于 2026-3-2 05:53 | 显示全部楼层
hy188820 发表于 2026-3-1 13:04
7 y7 N6 \; U2 {& A; x$ U5 [1 V: E7 D玩游戏能快速完成盈利,那种感觉真棒!

' v  I7 J4 C; K( q# K这样的感觉还是超级棒的了
回复 支持 反对

使用道具 举报

1579

主题

8万

回帖

2万

金币

海燕硕士

积分
258772

万时之王老会员精华勋章勤奋勋章交易勋章光影行者

发表于 2026-3-2 05:53 | 显示全部楼层
do68229 发表于 2026-3-1 19:48% h9 T( e; N6 B. |3 e# V
赚多赚少都是好的,兄弟技术就是强

, x, P3 m' z' O/ r( N这样的技术还是非常棒的了
回复 支持 反对

使用道具 举报

1579

主题

8万

回帖

2万

金币

海燕硕士

积分
258772

万时之王老会员精华勋章勤奋勋章交易勋章光影行者

发表于 2026-3-2 05:53 | 显示全部楼层
do68229 发表于 2026-3-1 19:48
* ]4 G# c) U; m5 h兄弟赚到钱也还是挺好的,运气这也无敌了

/ l5 F4 n, t( R8 _  U3 r7 S  J希望是可以能够一直都保持住这样的好运气
回复 支持 反对

使用道具 举报

1579

主题

8万

回帖

2万

金币

海燕硕士

积分
258772

万时之王老会员精华勋章勤奋勋章交易勋章光影行者

发表于 2026-3-2 05:54 | 显示全部楼层
蔬菜沙拉 发表于 2026-3-1 20:492 e& W2 `' U5 [5 h
三定位两面稳扎稳打,这次小赢525挺舒服,递增节奏拿捏得不错啊
/ D$ t" Y  h# s4 J5 W& a# u, |& j
确实是非常让人舒服的事情了呢。   
回复 支持 反对

使用道具 举报

1579

主题

8万

回帖

2万

金币

海燕硕士

积分
258772

万时之王老会员精华勋章勤奋勋章交易勋章光影行者

发表于 2026-3-2 05:54 | 显示全部楼层
蔬菜沙拉 发表于 2026-3-1 20:502 o! |4 o& j+ _7 |& ^8 X
这开局确实舒服,希望后面能稳住别飘,小赢最怕心态炸
% D- A5 r; `8 H$ ~6 V  b
毕竟大家都是非常喜欢赚钱的结果了。
回复 支持 反对

使用道具 举报

1579

主题

8万

回帖

2万

金币

海燕硕士

积分
258772

万时之王老会员精华勋章勤奋勋章交易勋章光影行者

发表于 2026-3-2 05:54 | 显示全部楼层
一路前行 发表于 2026-3-1 23:54* g) F/ l: @% k( _+ o0 {# c
这次赚得快,心里真爽,下次还要这么干!

; g' |/ m$ r0 K* D% f4 G1 R: t& F相信是可以能够每天都这样的赚钱的
回复 支持 1 反对 0

使用道具 举报

您需要登录后才可以回帖 登录 | 立即注册

本版积分规则

广告合作|福利汇|论坛简介|钱包教程|手机版|小黑屋|Archiver|海燕论坛

快速回复 返回顶部 返回列表