找回密码
 立即注册
澳门威尼斯人
U8
U18
海燕招商
A
蓝盾
e世博
islot.
申博亚洲
澳门银河
B
开云
腾博会
德信
C级广告商
吉祥坊
华体会
查看: 15231|回复: 16

[足球推荐] 2025年8月6日01:00 欧冠 马尔默VS 哥本哈根

 火.. [复制链接]

229

主题

3470

回帖

465

金币

银牌会员

积分
10770

老会员交易勋章

发表于 2025-8-5 17:42 | 显示全部楼层 |阅读模式

马上注册,结交更多好友,享用更多功能,让你轻松玩转社区。

您需要 登录 才可以下载或查看,没有账号?立即注册

×
推荐:小2
北京时间2025860100 将迎来欧冠资格赛一场的比赛,马尔默主场荣迎战哥本哈根,一个是瑞典超的队伍,一个来自丹麦超,都是有一定实力的,双方首回合的交手,本场比赛还是值得关注。

" I- X  ]8 l( F
1-1.png 积分分析
本赛季瑞典超的比赛,马尔默整个赛季联赛取得了963负的战绩拿到了33的积分,联赛第4,对比瑞典超豪强来说有点拉跨。对手哥本哈根赛季比赛取得了300负的战绩,拿到了9分的积分,排名联赛第1,倒是打出来不错的战绩。
1-2.png 1-3.png
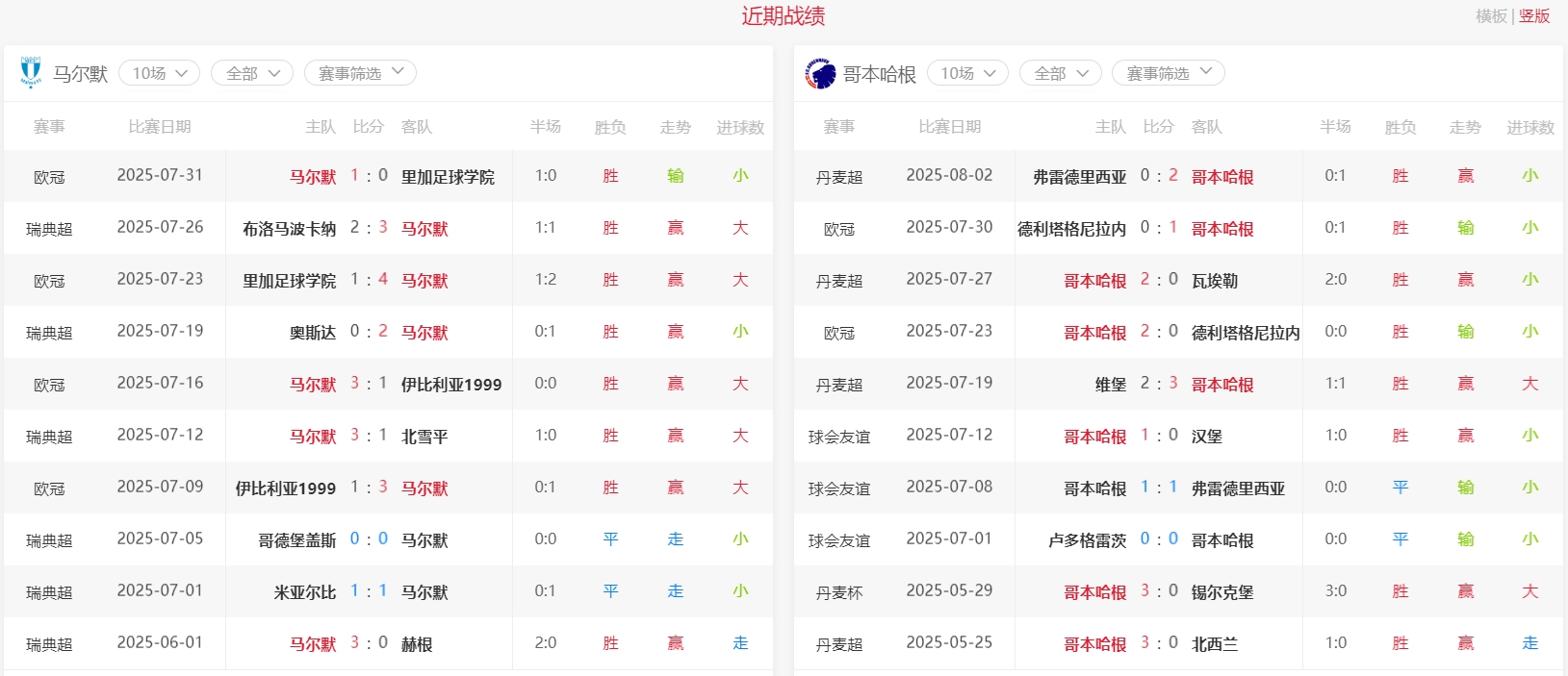
战绩分析:
两队历史交手记录上,马尔默面对哥本哈根取得了223负的战绩,基本是都没占到优势。近十场比赛马尔默取得了820负的战绩,状态也是比较不错。 哥本哈根近十场比赛取得了820负的战绩状态同样火热。
1-4.png 1-5.png
盘口分析:
双方都是各自联赛的顶级强队,实力差距也不是很大,本场是首回合的交手,是最终晋级就可以直接来到欧冠正赛,所以首回合还是要谨慎,大小只开出了2球盘口,还是比较看好小球打出。
推荐:小2

9 v8 S% K, @( v5 I" i* U  d$ X2 t
fakename.png

+ k8 R* F9 g+ _) m- _9 Q
回复

使用道具 举报

53

主题

9448

回帖

4170

金币

金牌会员

积分
25753

老会员

发表于 2025-8-5 18:10 | 显示全部楼层
这场看小球还是很不错的,我也觉得进球不会多的,小球很有希望
回复 支持 反对

使用道具 举报

46

主题

1万

回帖

1372

金币

金牌会员

积分
24942

老会员

发表于 2025-8-5 18:51 | 显示全部楼层
这一场的小球,还是很不错的,希望楼主的推荐是能够红起来的。
回复 支持 反对

使用道具 举报

480

主题

3万

回帖

4665

金币

铂金用户

积分
84327

老会员美女勋章勤奋勋章交易勋章

发表于 2025-8-5 19:38 | 显示全部楼层
这场开盘这么小也有可能打出来一个小球的比赛吧
回复 支持 反对

使用道具 举报

278

主题

1万

回帖

4452

金币

金牌会员

积分
34776

老会员光影行者

发表于 2025-8-6 05:18 | 显示全部楼层
这一场的小球也是都红了,还是很不错的,一个进球也没有,小球毫无压力啊。
回复 支持 反对

使用道具 举报

3700

主题

7万

回帖

5981

金币

海燕硕士

积分
220362

万时之王老会员勤奋勋章交易勋章

发表于 2025-8-6 05:58 | 显示全部楼层
看来这一场比赛大家推荐小球都是猜对了,一个进球都没有了
回复 支持 反对

使用道具 举报

3700

主题

7万

回帖

5981

金币

海燕硕士

积分
220362

万时之王老会员勤奋勋章交易勋章

发表于 2025-8-6 05:59 | 显示全部楼层
没牙的兔子 发表于 2025-8-6 05:18
9 x& N* M, C1 R6 k& d( O这一场的小球也是都红了,还是很不错的,一个进球也没有,小球毫无压力啊。 ...

1 s5 y7 F( F: q( O2 [( B猜对了小球也是值得高兴的结果了,楼主真的是太厉害了吧
回复 支持 反对

使用道具 举报

36

主题

1万

回帖

3789

金币

千足金牌会员

积分
50064

老会员美女勋章光影行者

发表于 2025-8-6 06:57 | 显示全部楼层
楼主还是很厉害的,这吃那个最后的确是小球的,继续关注楼主
回复 支持 反对

使用道具 举报

36

主题

1万

回帖

3789

金币

千足金牌会员

积分
50064

老会员美女勋章光影行者

发表于 2025-8-6 06:58 | 显示全部楼层
dollar 发表于 2025-8-6 05:58: L. y, \4 Q+ k" M
看来这一场比赛大家推荐小球都是猜对了,一个进球都没有了
/ B* [/ k1 I+ k( g; |
是啊,小球还是选择的很正确的,还是很厉害的了
回复 支持 反对

使用道具 举报

1410

主题

5万

回帖

2163

金币

钻石用户

积分
142705

万时之王老会员勤奋勋章交易勋章

发表于 2025-8-6 10:54 | 显示全部楼层
马尔默0-0哥本哈根楼主的小球也是稳稳的收米了 恭喜一下楼主的啊
回复 支持 反对

使用道具 举报

1410

主题

5万

回帖

2163

金币

钻石用户

积分
142705

万时之王老会员勤奋勋章交易勋章

发表于 2025-8-6 10:55 | 显示全部楼层
云水谣 发表于 2025-8-6 06:572 `! i% d$ S6 h7 [% u
楼主还是很厉害的,这吃那个最后的确是小球的,继续关注楼主
6 _1 h1 N% e% _' y# f; k) C% j
马尔默和哥本哈根的攻击力很一般的 楼主去小球也是没毛病的啊
回复 支持 反对

使用道具 举报

1410

主题

5万

回帖

2163

金币

钻石用户

积分
142705

万时之王老会员勤奋勋章交易勋章

发表于 2025-8-6 10:55 | 显示全部楼层
十里变百里 发表于 2025-8-5 18:51
7 r5 d% y) s7 N( e! R: P7 ~2 C这一场的小球,还是很不错的,希望楼主的推荐是能够红起来的。

$ Q. R6 Q+ ^" |+ i  ~杯赛的小球比赛也是非常多的 希望大家可以多玩一下小球啊
回复 支持 反对

使用道具 举报

1410

主题

5万

回帖

2163

金币

钻石用户

积分
142705

万时之王老会员勤奋勋章交易勋章

发表于 2025-8-6 10:56 | 显示全部楼层
dollar 发表于 2025-8-6 05:58
# Z1 a: P- @; P& Z看来这一场比赛大家推荐小球都是猜对了,一个进球都没有了
- N0 C. y) y# _4 M9 A0 ~' {' \$ J
楼主的预测也是非常的给力啊 希望你能够及时的下注啊
回复 支持 反对

使用道具 举报

3918

主题

8万

回帖

9081

金币

海燕硕士

积分
244521

万时之王老会员精华勋章勤奋勋章

发表于 2025-8-6 12:10 | 显示全部楼层
这还是希望能够更加努力一点,好好的珍惜一下的
回复 支持 反对

使用道具 举报

2623

主题

5万

回帖

7139

金币

钻石用户

积分
178490

万时之王老会员精华勋章勤奋勋章交易勋章

发表于 2025-8-7 12:38 来自手机 | 显示全部楼层
allin 发表于 2025-8-6 10:54
- ]$ F& N: M1 D9 g/ n3 D$ G马尔默0-0哥本哈根楼主的小球也是稳稳的收米了 恭喜一下楼主的啊
& d) W) ~4 f2 `6 F
这场球比赛结果0:0,全场没有一个进球,楼主推荐小2球红单了,不错的
回复 支持 反对

使用道具 举报

您需要登录后才可以回帖 登录 | 立即注册

本版积分规则

广告合作|福利汇|论坛简介|钱包教程|手机版|小黑屋|Archiver|海燕论坛

快速回复 返回顶部 返回列表