找回密码
 立即注册
澳门威尼斯人
U8
U18
海燕招商
A
蓝盾
e世博
islot.
申博亚洲
澳门银河
B
腾博会
德信
C级广告商
吉祥坊
查看: 90819|回复: 48

[真人] 【实战有奖】今天在申博7V娱乐城玩百家樂盈利75元

[复制链接]

1456

主题

1万

回帖

9135

金币

千足金牌会员

积分
49107

老会员财富勋章精华勋章交易勋章热心会员魅力达人

发表于 2025-5-22 23:36 | 显示全部楼层 |阅读模式

马上注册,结交更多好友,享用更多功能,让你轻松玩转社区。

您需要 登录 才可以下载或查看,没有账号?立即注册

×
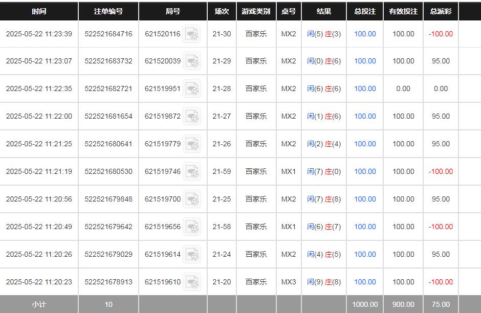
今天在申博玩真人百家樂游戏呢,一共是下注了十手,整体胜率还是挺高的,最后的盈利了75块钱,夜宵钱赚到了是不错的,希望明天能够继续收米哦,心态一定要稳住了哦。
* r2 v  @) d  B' h5 x; R
1 G# t; K% x: S, l
! z) @3 d8 r7 D 75.jpg QQ_1747928136301.png
6 F  c% K+ D/ r
1 {& T& P5 `# o- A& x% n
1 A& a) F. F2 G- g
回复

使用道具 举报

214

主题

1万

回帖

2237

金币

千足金牌会员

积分
44804

老会员

发表于 2025-5-23 00:07 | 显示全部楼层
BB百家乐玩的不错呀,经过调整还是能拿下75人民币到账的,恭喜了。
回复 支持 反对

使用道具 举报

278

主题

1万

回帖

4452

金币

金牌会员

积分
34776

老会员光影行者

发表于 2025-5-23 05:24 | 显示全部楼层
只要是能够赢钱,确实是很不错的,希望以后都能够有个好的结果了。
回复 支持 反对

使用道具 举报

1214

主题

3万

回帖

543

金币

铂金用户

积分
93233

老会员交易勋章光影行者

发表于 2025-5-23 05:39 | 显示全部楼层
这个胜率还是蛮高的啦所以最终还是取得了一个比较理想的结果的啦也是蛮开心的啦
回复 支持 反对

使用道具 举报

1214

主题

3万

回帖

543

金币

铂金用户

积分
93233

老会员交易勋章光影行者

发表于 2025-5-23 05:39 | 显示全部楼层
没牙的兔子 发表于 2025-5-23 05:24
  c/ ~6 @4 V0 G! X( y( Q只要是能够赢钱,确实是很不错的,希望以后都能够有个好的结果了。
2 ^  ~7 j: q. Q& o8 Q* f
这个想法还是很正确的啦,我们以后都是要有这样的心态的了
回复 支持 反对

使用道具 举报

1587

主题

8万

回帖

2万

金币

海燕硕士

积分
261869

万时之王老会员精华勋章勤奋勋章交易勋章光影行者

发表于 2025-5-23 06:08 | 显示全部楼层
可以赢钱了还是会非常高兴的,要多多祝贺一下楼主的呢
回复 支持 反对

使用道具 举报

1587

主题

8万

回帖

2万

金币

海燕硕士

积分
261869

万时之王老会员精华勋章勤奋勋章交易勋章光影行者

发表于 2025-5-23 06:08 | 显示全部楼层
没牙的兔子 发表于 2025-5-23 05:24' |0 u# R) b- d: H$ p+ L
只要是能够赢钱,确实是很不错的,希望以后都能够有个好的结果了。
  Z) W1 `5 I) D2 ]
楼主是个玩百家乐的高手,感觉每天都是在轻轻松松赚钱的
回复 支持 反对

使用道具 举报

2472

主题

8万

回帖

4510

金币

海燕硕士

积分
224630

老会员超级精华精华勋章美女勋章勤奋勋章交易勋章万时之王

发表于 2025-5-23 06:25 | 显示全部楼层
盈利了几十块钱也是好的玩游戏赚钱还是值得我们学习一下的
回复 支持 反对

使用道具 举报

2472

主题

8万

回帖

4510

金币

海燕硕士

积分
224630

老会员超级精华精华勋章美女勋章勤奋勋章交易勋章万时之王

发表于 2025-5-23 06:25 | 显示全部楼层
cwx1994 发表于 2025-5-23 06:08
, L' J  ~( R, }) y* L! a楼主是个玩百家乐的高手,感觉每天都是在轻轻松松赚钱的

7 c8 }- b0 Z# _/ r* R) x! g' i. S1 n百家乐的高手也是真的不错的,我们就喜欢赚到钱,然后慢慢玩
回复 支持 反对

使用道具 举报

2472

主题

8万

回帖

4510

金币

海燕硕士

积分
224630

老会员超级精华精华勋章美女勋章勤奋勋章交易勋章万时之王

发表于 2025-5-23 06:25 | 显示全部楼层
猴哥打野 发表于 2025-5-23 05:39
3 w! e  T7 V+ u* e" f) E+ W这个胜率还是蛮高的啦所以最终还是取得了一个比较理想的结果的啦也是蛮开心的啦 ...

9 h) L. S0 [8 D% d# s, U' a6 Y7 \2 q# K最终赚到了几十块钱,也可以吃一天的伙食了,也是值得学习
回复 支持 反对

使用道具 举报

2472

主题

8万

回帖

4510

金币

海燕硕士

积分
224630

老会员超级精华精华勋章美女勋章勤奋勋章交易勋章万时之王

发表于 2025-5-23 06:25 | 显示全部楼层
hy188820 发表于 2025-5-23 00:07
7 Q5 G# Z2 R2 e- B7 R$ E) p- w/ P" NBB百家乐玩的不错呀,经过调整还是能拿下75人民币到账的,恭喜了。

" s% h+ @2 G: O/ d% K这个百家乐我也是天天玩,有时候也是可以赚到钱来的
回复 支持 反对

使用道具 举报

62

主题

4万

回帖

1537

金币

钻石用户

积分
124576

万时之王老会员勤奋勋章交易勋章光影行者

发表于 2025-5-23 06:29 | 显示全部楼层
给力的赚钱了, 也是超级不错了,美滋滋的赚钱了, 真的是很开心了,保持下去的!
回复 支持 反对

使用道具 举报

62

主题

4万

回帖

1537

金币

钻石用户

积分
124576

万时之王老会员勤奋勋章交易勋章光影行者

发表于 2025-5-23 06:29 | 显示全部楼层
cwx1994 发表于 2025-5-23 06:08
" J6 J4 Q3 u8 W: d1 Q楼主是个玩百家乐的高手,感觉每天都是在轻轻松松赚钱的

" C  `$ _/ s" b& b, G2 v* z: X6 n" m/ F有时候高手赚钱真的是很容易了,真的是很羡慕的了,美滋滋保持下去的!
回复 支持 反对

使用道具 举报

62

主题

4万

回帖

1537

金币

钻石用户

积分
124576

万时之王老会员勤奋勋章交易勋章光影行者

发表于 2025-5-23 06:29 | 显示全部楼层
猴哥打野 发表于 2025-5-23 05:39
* L1 ~" N0 n0 }( E% [. b这个想法还是很正确的啦,我们以后都是要有这样的心态的了
0 \  G. z/ c! N4 N2 d
确实是,希望我们都是会有个好心态了,自己好好的把握了,继续搞起来的!
回复 支持 反对

使用道具 举报

62

主题

4万

回帖

1537

金币

钻石用户

积分
124576

万时之王老会员勤奋勋章交易勋章光影行者

发表于 2025-5-23 06:30 | 显示全部楼层
猴哥打野 发表于 2025-5-23 05:395 f% e, R& f# a0 }, h$ ]# l$ [
这个想法还是很正确的啦,我们以后都是要有这样的心态的了
4 A/ t6 b# B& G& C  R
希望哦我们都是目标都是为了赚钱了, 其他的都是不好说,淡定就好了!
回复 支持 反对

使用道具 举报

您需要登录后才可以回帖 登录 | 立即注册

本版积分规则

广告合作|福利汇|论坛简介|钱包教程|手机版|小黑屋|Archiver|海燕论坛

快速回复 返回顶部 返回列表