找回密码
 立即注册
澳门威尼斯人
U8
U18
海燕招商
A
蓝盾
e世博
islot.
申博亚洲
B
开云
腾博会
德信
C级广告商
吉祥坊
华体会
查看: 105326|回复: 58

[彩票] 【实战有奖】今天在申博7V玩彩票也是输了水钱

[复制链接]

1211

主题

3万

回帖

627

金币

铂金用户

积分
90758

老会员交易勋章光影行者

发表于 2025-5-22 21:37 | 显示全部楼层 |阅读模式

马上注册,结交更多好友,享用更多功能,让你轻松玩转社区。

您需要 登录 才可以下载或查看,没有账号?立即注册

×
     今天到了申博去玩了彩票了啊。运气还是很不错的啊。最后的结果也是没有苏了啊。虽然亏了1块多,但是还是感觉好的啊。只是输了水钱罢了啊。只要胜率不低于50,应该说都是可以接受的啊,即便低了,损失不大也是要接受了啊。  Z. u  `/ R' Z; `
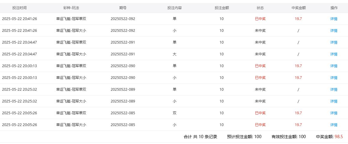
      今天去了幸运飞艇这个游戏了啊。第一期我是投注了小和双的啊,结果是两红了啊。实在是比较爽了 啊。一下子就赢了20了啊。实在是美滋滋的啊。心情都一下子愉快起来啊。第二期呢,我打了小和单了啊。从时间上看隔了几期了啊。那是因为当时有事,就走开了啊。过了20分钟,我才又回来继续玩了啊。
6 \  Q  Y$ ~2 x- L, f7 s( {      第二期,我是没有中奖的啊。遇到了2黑了 了。两个方向都没有猜对。实在遗憾了的。这样两期下来,我是一点好处都没有得到了。我的盈利就没有了。7 ], ?  a' C" s* L
     第3期,我买了小和单了啊。结果也是比较幸运的啊,两个都中了啊。一下子我就又赢了20了啊。也是非常的开心的啊。只要是可以赢,都是满意的啊。
) q/ S0 A% K" J; F( p+ y' S4 R     第4期,我看了一下路子,买了大和单了。结果开出来,我没有看准了啊。2黑了啊。一下子就又输了回去了啊。4期下来,我是一点好处都没有得到,甜头是根本没有了啊。实在是遗憾的啊。
- ?1 a9 O" M$ G5 F* M. H0 ~    第5期了。我又去买了小和单,结果呢,出了大和单了啊。我的投注还是一红一黑了啊。这样子,我5期下来,就取得了一个打成平手的结果了。只是亏 一点水钱而已,输了一瓶矿泉水而已了。应该说还是比较幸运的啊。所以,没有什么不满了 。我就撤退了啊。1 y& |5 M% x2 _
11.JPG 22.JPG
# d, s( x; ^, C4 W$ m- h6 K: T1 X
. I8 O* J2 U! e0 v" D5 V! b; u6 ~* E+ t, d( }# o( L

3 e' e. i; j" h8 ]; [8 c. V
+ H( F/ x: O/ I. c
回复

使用道具 举报

102

主题

6390

回帖

2606

金币

金牌会员

积分
20822

老会员

发表于 2025-5-22 21:43 | 显示全部楼层
楼主的成绩不理想早一点止损是正确的,亏损一点可以不记
回复 支持 反对

使用道具 举报

16

主题

1668

回帖

1984

金币

铜牌用户

积分
7791

老会员

发表于 2025-5-22 22:26 | 显示全部楼层
一瓶矿泉水的代价玩了五期,体验拉满了,起起伏伏才是生活的调味剂啊!
回复 支持 反对

使用道具 举报

616

主题

8202

回帖

5558

金币

金牌会员

积分
27097

老会员交易勋章

发表于 2025-5-22 22:36 | 显示全部楼层
你的持之以恒让我感动,很感人,还是祝你下一波能盈利吧,坚持玩彩票不容易
回复 支持 反对

使用道具 举报

194

主题

1万

回帖

1048

金币

千足金牌会员

积分
41162

老会员

发表于 2025-5-22 23:28 | 显示全部楼层
楼主的彩票玩的算不错的,运气不佳的情况下,只有亏损水钱。
回复 支持 反对

使用道具 举报

278

主题

1万

回帖

4452

金币

金牌会员

积分
34776

老会员光影行者

发表于 2025-5-23 05:24 | 显示全部楼层
如果总是在输钱,就不要玩了,希望以后都能够有个好的结果了。
回复 支持 反对

使用道具 举报

1211

主题

3万

回帖

627

金币

铂金用户

积分
90758

老会员交易勋章光影行者

 楼主| 发表于 2025-5-23 05:40 | 显示全部楼层
易天一人 发表于 2025-5-22 21:43/ f3 X8 [$ W) l/ V& ^, P' a
楼主的成绩不理想早一点止损是正确的,亏损一点可以不记
" w# k( i  x* }+ ^% z! ~% `
的确是如此的了,损失不大的话都没什么关系的了,还是要加油的
回复 支持 反对

使用道具 举报

1211

主题

3万

回帖

627

金币

铂金用户

积分
90758

老会员交易勋章光影行者

 楼主| 发表于 2025-5-23 05:40 | 显示全部楼层
没牙的兔子 发表于 2025-5-23 05:24
) S2 @) D% `% N& ^% c5 E如果总是在输钱,就不要玩了,希望以后都能够有个好的结果了。

, m2 [+ ?  b" C  n" ~# E' A不可能总是在说的,我们还是要努力的把失去的拿回来了
回复 支持 反对

使用道具 举报

1211

主题

3万

回帖

627

金币

铂金用户

积分
90758

老会员交易勋章光影行者

 楼主| 发表于 2025-5-23 05:40 | 显示全部楼层
展现出 发表于 2025-5-22 22:36& Y" [* A& F. ^" W( P
你的持之以恒让我感动,很感人,还是祝你下一波能盈利吧,坚持玩彩票不容易 ...

6 a5 ?7 X9 ?2 t2 y6 d持之以恒也是有必要的啦,我们一定要好好的努力加油的啦
回复 支持 反对

使用道具 举报

1485

主题

7万

回帖

1万

金币

海燕硕士

积分
235050

万时之王老会员精华勋章勤奋勋章交易勋章光影行者

发表于 2025-5-23 06:07 | 显示全部楼层
小输一点水钱是可以忽略不计的,相信楼主下一次是可以盈利的
回复 支持 反对

使用道具 举报

1485

主题

7万

回帖

1万

金币

海燕硕士

积分
235050

万时之王老会员精华勋章勤奋勋章交易勋章光影行者

发表于 2025-5-23 06:07 | 显示全部楼层
hy188820 发表于 2025-5-22 23:285 C) Q4 d! y2 V% N. w
楼主的彩票玩的算不错的,运气不佳的情况下,只有亏损水钱。
/ k5 e2 x  S$ N% R' i. }' S
楼主是个玩彩票的高手,这一次小输一点没有什么影响的
回复 支持 反对

使用道具 举报

1485

主题

7万

回帖

1万

金币

海燕硕士

积分
235050

万时之王老会员精华勋章勤奋勋章交易勋章光影行者

发表于 2025-5-23 06:08 | 显示全部楼层
没牙的兔子 发表于 2025-5-23 05:24
( p. R0 f- W2 S如果总是在输钱,就不要玩了,希望以后都能够有个好的结果了。
4 e$ j1 h3 T3 J" V  i" V, X6 ?2 G
这个时候还是要选择休息一下的,这样就可以减少损失了
回复 支持 反对

使用道具 举报

59

主题

4万

回帖

1758

金币

钻石用户

积分
123105

万时之王老会员勤奋勋章交易勋章光影行者

发表于 2025-5-23 06:20 | 显示全部楼层
一点点水钱也是很无奈了,这个真的是没有办法了,难搞的啦, 郁闷的了!
回复 支持 反对

使用道具 举报

59

主题

4万

回帖

1758

金币

钻石用户

积分
123105

万时之王老会员勤奋勋章交易勋章光影行者

发表于 2025-5-23 06:20 | 显示全部楼层
cwx1994 发表于 2025-5-23 06:08
( e4 e! [( \( I这个时候还是要选择休息一下的,这样就可以减少损失了
$ K# z  D2 k' r, J* P0 W; J
必须了,反正自己把握,合理的安排也是很关键了,不能乱来啊,都是自己的辛苦钱的!
回复 支持 反对

使用道具 举报

59

主题

4万

回帖

1758

金币

钻石用户

积分
123105

万时之王老会员勤奋勋章交易勋章光影行者

发表于 2025-5-23 06:21 | 显示全部楼层
猴哥打野 发表于 2025-5-23 05:40
' ^* i/ a% @$ e  S& w持之以恒也是有必要的啦,我们一定要好好的努力加油的啦

% x' Z8 O, e3 I" J- E' o4 U确实是很有道理,但是很多时候做不到了,这个也是一个问题的呢,淡定吧!
回复 支持 反对

使用道具 举报

您需要登录后才可以回帖 登录 | 立即注册

本版积分规则

广告合作|评测有奖|福利汇|论坛简介|钱包合集|手机版|小黑屋|Archiver|海燕论坛

快速回复 返回顶部 返回列表