找回密码
 立即注册
澳门威尼斯人
U8
U18
海燕招商
A
蓝盾
e世博
islot.
申博亚洲
澳门银河
B
腾博会
德信
C级广告商
吉祥坊
查看: 317397|回复: 108

[真人] 【实战有奖】今天在申博亚洲bbin百家乐盈利204元

[复制链接]

1938

主题

3万

回帖

562

金币

铂金用户

积分
93172

万时之王老会员超级精华精华勋章勤奋勋章交易勋章

发表于 2025-3-20 04:01 | 显示全部楼层 |阅读模式

马上注册,结交更多好友,享用更多功能,让你轻松玩转社区。

您需要 登录 才可以下载或查看,没有账号?立即注册

×
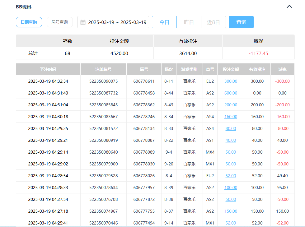
今天在申博亚洲存款450元,依然作战bbin百家乐。
% b1 f9 n2 L" q7 c! H$ o5 \: G6 R+ a7 h$ w. ?# D: j! I
上去就是看到一个庄连闲不连的路子,于是起注打了一手30的注码,结果黑了。
' g) c, n# b& g2 u3 X8 {& I$ t% q8 v" V1 p/ z
闲出了两个,一般这种牌型,我是会胜进负追混合缆负追一手60打庄的,博闲不过二,但今天看了一下,觉得还是打闲稳妥一点,但注码上没敢负追,也是打了一手30的平注,结果这一手红了。前面两手就是-30+30
$ S$ a( i% c& q
0 Z1 J* J/ E3 I/ H" s& E5 h红了之后,因为和自己平常一贯的打法等于是反打了,那就13注码干一手吧,直接上了一手90的注码,期待一击而中,奠定心理优势,可惜被神补给干掉了。' `9 L8 I6 B- ~
5 I/ o0 Y1 }$ M8 U& t$ h6 Q2 x" N
QQ20250320-033349.jpg / k4 Q3 S- S3 g6 D
9 ~0 o# O5 R- _# m
输了这一手,有点郁闷,但也是没气馁,回到60的注码,期待赢两手,打回这条缆,结果心想事成,连续两手+60+60,打回来了。
- }. [3 K! {6 i6 e0 O2 o1 D1 ]! @% }
! |0 r5 j& Y! _( m6 f% C; X QQ20250320-033528.jpg
; `- M- m! v/ B0 z! V5 c( ~7 _3 \; n  f# z& @( o$ d
回到30基码重新起缆,+30+60又是连赢了两手,此时应该胜进90,看一下流水还差90多块,那最后一手就是打了一手100的注码,结果又是顺利拿下了。+ N5 }" r" u. b- f9 c
5 M, Q* D: v# u8 R7 V0 H! l( W
QQ20250320-033750.jpg
( T/ E) N, C4 A; ^$ W% f2 X/ B8 |' p- A8 v; i% x) F
最终搞定了204元的利润,也是提款鸣金收兵了。
, I& V2 c4 i2 ^! Q4 [& F8 ?5 _4 `3 ^4 Z, ]
QQ20250320-033806.jpg QQ20250320-035131.jpg
1 p" Q5 R. }$ F, W# S1 ]* a
  G# k1 T+ ^5 c& n! J本场战斗,可谓出师不利,且输了一手较大的注码90,但之后自己不急不躁,还是稳住了,最终一波连赢,靠胜进拿下最后一手100的注码,完美实现了前面输一手90的复仇,最终搞定了204元的盈利,也是心满意足了。
9 H6 X: S4 |5 d" k5 a  x  s- i% P! ^* t" Z, O4 m
美东时间19号,昨天下午自己其实战斗开局不是很理想,第一场就是二存输了1000多止损的。3 `6 g, C0 G# n) Z, t
( S+ Y/ F) m9 K# \& D" v' A
QQ20250319-165524.jpg QQ20250319-165614.jpg ; o0 A: r' W6 m. E% V: T
% v/ i# o2 ]5 p! x# W' ]! ^
这一场战斗胜率非常低下,净输了15手以上,止损过后,自己冷静面对,分多场,慢慢赢了点回来,到昨晚睡觉时,总战绩,当天只输了100多块。
- U* q7 N+ q# W5 j: c- R1 M
5 M; m3 ^) }% q今天睡醒了,实战发帖之所以存款450,就是想打30基码的缆(平时存款300一般只打20基码),期待这一场能实现当天的扭亏为盈,结果果然天遂人愿,这一场赢了200多,美东时间19号的战绩,已经由亏损1100多,变成了盈利几十块了。
7 t, q7 U- K. I6 P3 H1 \; k7 j+ J4 I% ]8 w/ A3 J# U  O. l+ m
所以,输了一场大的之后,不要急着一场两场就赢回来,可以分为多回合,慢慢打,即使打不回来,也是心态平和,止损线1500以内,无论输多少,都是可以接受,可以做好止损。这样心态平和了,胜率回来一点,扭亏为盈,也是可以水到渠成的。
# ~& i( |0 v& _; l
回复

使用道具 举报

278

主题

1万

回帖

4452

金币

金牌会员

积分
34776

老会员光影行者

发表于 2025-3-20 05:22 | 显示全部楼层
能够有这样的收益,确实是很不错的,希望以后都能够有个好的结果了。
回复 支持 反对

使用道具 举报

2472

主题

8万

回帖

4750

金币

海燕硕士

积分
225323

老会员超级精华精华勋章美女勋章勤奋勋章交易勋章万时之王

发表于 2025-3-20 07:08 | 显示全部楼层
能够赚到钱的时候也是要坚持玩下去这样才能赚到更多的一个钱
回复 支持 反对

使用道具 举报

2472

主题

8万

回帖

4750

金币

海燕硕士

积分
225323

老会员超级精华精华勋章美女勋章勤奋勋章交易勋章万时之王

发表于 2025-3-20 07:08 | 显示全部楼层
没牙的兔子 发表于 2025-3-20 05:22
& [5 o) J* F) w$ A! q+ C2 L能够有这样的收益,确实是很不错的,希望以后都能够有个好的结果了。

) K" X& {/ X; H) y# s每天也是希望有一个好的运气出现,这样玩游戏的心情也跟着变好了
回复 支持 反对

使用道具 举报

137

主题

1万

回帖

3279

金币

金牌会员

积分
30395

老会员交易勋章光影行者

发表于 2025-3-20 08:02 | 显示全部楼层
能够盈利200多大洋,确实是很不错的,希望以后都能够有个好的结果了。
回复 支持 反对

使用道具 举报

1053

主题

2万

回帖

8569

金币

铂金用户

积分
74633

老会员交易勋章光影行者

发表于 2025-3-20 09:06 | 显示全部楼层
老哥这次玩的还是很不错的,希望老哥这样的运气是可以继续的
回复 支持 反对

使用道具 举报

1053

主题

2万

回帖

8569

金币

铂金用户

积分
74633

老会员交易勋章光影行者

发表于 2025-3-20 09:07 | 显示全部楼层
小雨点 发表于 2025-3-20 08:02/ ~( \! I6 K( _! x* I! v" s
能够盈利200多大洋,确实是很不错的,希望以后都能够有个好的结果了。

* X" Z% |" j# J* q+ X/ j是啊,能赚到这么多钱是真的很不的,希望拿给以后都继续
回复 支持 反对

使用道具 举报

3918

主题

8万

回帖

9181

金币

海燕硕士

积分
244721

万时之王老会员精华勋章勤奋勋章

发表于 2025-3-20 10:49 | 显示全部楼层
能够收获了200多个太阳这个还是挺满足的希望后面继续发挥
回复 支持 反对

使用道具 举报

3918

主题

8万

回帖

9181

金币

海燕硕士

积分
244721

万时之王老会员精华勋章勤奋勋章

发表于 2025-3-20 10:49 | 显示全部楼层
飞舞倾城 发表于 2025-3-20 09:07
- d' p# ^% X! B+ N: W是啊,能赚到这么多钱是真的很不的,希望拿给以后都继续

7 k, q  _9 y; r0 q7 l/ {" s& j轻轻松松就盈利了,真的感觉太厉害了,这也是我们不断追求的目标
回复 支持 反对

使用道具 举报

3918

主题

8万

回帖

9181

金币

海燕硕士

积分
244721

万时之王老会员精华勋章勤奋勋章

发表于 2025-3-20 10:49 | 显示全部楼层
小雨点 发表于 2025-3-20 08:02+ S  O* e4 u" I, D$ G
能够盈利200多大洋,确实是很不错的,希望以后都能够有个好的结果了。

5 J/ {8 K  e0 F5 @$ F- B果然还是非常不错的一个结果200多个大洋也是挺舒服的
回复 支持 反对

使用道具 举报

3411

主题

8万

回帖

9624

金币

海燕硕士

积分
236129

万时之王老会员精华勋章勤奋勋章交易勋章光影行者

发表于 2025-3-20 14:03 | 显示全部楼层
这个只要最后能够带来这么多的盈利,也是很开心的,需要能够继续的保持这样的盈利
回复 支持 反对

使用道具 举报

3411

主题

8万

回帖

9624

金币

海燕硕士

积分
236129

万时之王老会员精华勋章勤奋勋章交易勋章光影行者

发表于 2025-3-20 14:03 | 显示全部楼层
左西右东 发表于 2025-3-20 10:49* B9 K, O' x/ G* ~) h- t# {
果然还是非常不错的一个结果200多个大洋也是挺舒服的

0 j% f7 {+ k* v" o不管怎么说,我们玩游戏都还是希望能够有一个好的结果就好了
回复 支持 反对

使用道具 举报

3411

主题

8万

回帖

9624

金币

海燕硕士

积分
236129

万时之王老会员精华勋章勤奋勋章交易勋章光影行者

发表于 2025-3-20 14:03 | 显示全部楼层
左西右东 发表于 2025-3-20 10:497 b5 j. |- U2 O0 ~0 e0 ~* R
轻轻松松就盈利了,真的感觉太厉害了,这也是我们不断追求的目标

1 Y1 v* u( C3 K5 y) ?* U看别人赚钱就是这么轻松的,自己去玩的时候未必那么顺利啊
回复 支持 反对

使用道具 举报

3411

主题

8万

回帖

9624

金币

海燕硕士

积分
236129

万时之王老会员精华勋章勤奋勋章交易勋章光影行者

发表于 2025-3-20 14:03 | 显示全部楼层
左西右东 发表于 2025-3-20 10:49
( {. X' C, Y- {! ]. [- M能够收获了200多个太阳这个还是挺满足的希望后面继续发挥
- s* E& r. S0 w$ X' T
其实这个有那么多的收获,已经非常的好了,相当于能够有一天的工资就好
回复 支持 反对

使用道具 举报

197

主题

6859

回帖

148

金币

银牌会员

积分
13995

老会员交易勋章

发表于 2025-3-20 16:22 | 显示全部楼层
* u" ^+ Y3 Y2 r7 R9 @
赢得漂亮,这就是你的实力不可否认,可以在期待一下更好的下一波了
回复 支持 反对

使用道具 举报

您需要登录后才可以回帖 登录 | 立即注册

本版积分规则

广告合作|福利汇|论坛简介|钱包教程|手机版|小黑屋|Archiver|海燕论坛

快速回复 返回顶部 返回列表